过滤及分离设备
四、手摇刷式过滤器
1.产品用途
手摇刷式过滤器适用于各种供水系统、工艺水泵及工业冷却水系统,特别适用于连续运行的不停机系统,可以滤去水中的各种机械杂质,确保系统设备的安全可靠运行。

2.结构与工作原理
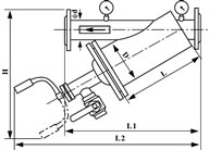
手摇刷式过滤器是由优质碳钢筒体,不锈钢楔形滤网,带手柄的尼龙刷(或钢丝刷)及排污阀,压力表组成。水流经过滤器,杂质被拦截,当需要排污时,只要打开排污阀,轻轻摇动手柄数圈,即可完成排污,不必拆卸过滤器清洗内部滤网。

图35
注:1.工作压力:≤2.5MPa

2.工作温度:≤200℃

3.过度精度:0.05~3mm

4.连接法兰标准:HG20593-97

5.也可制造其它材料的手摇刷式过滤器
3. 规格型号及技术参数(见表40)
                                            表40
规格
型号
进出口尺寸
L1
mm
L2
mm
L
mm
D
mm
d
mm
H
mm
最大流量
t/h
mm
in
SL-2S
50
2
670
810
430
219
60
650
19
SL-3S
80
3
670
810
430
219
89
660
50
SL-4S
100
4
670
810
430
219
108
670
80
SL-5S
125
5
690
820
430
219
133
680
125
SL-6S
150
6
800
950
480
273
159
720
180
SL-8S
200
8
900
1050
566
325
219
850
320
SL-10S
250
10
1200
1350
744
426
273
1050
490
 
南通市松立机械有限公司 地址:启东市汇龙镇环城北路 邮编:226200 联系人:顾永生 手机:13801464197
电话:0513-83214397 83356629 传真:0513-83214397 http://www.ntsljx.com E-mail:sl@ntsljx.com
炼炉混氧器