| |
|
三、阻火呼吸阀
1.产品用途
阻火呼吸阀是用来降低常压贮罐内挥发性液体的蒸发损耗,保护贮罐免受超压或其它破坏的安全设施。通常阻火呼吸阀安装在储存闪点低于28℃的甲类油品或化工原料和闪点低于60℃的乙类油品或化工原料。如汽油、甲苯、煤油、轻柴油、原油等油品及化工物料的储罐顶上。产品的技术性能,试验方法符合SY/T0511-1996《石油储罐呼吸阀》标准。
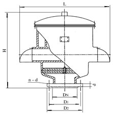
2.结构示意图及尺寸表(全天候呼吸阀见图45表52,阻火呼吸阀见图46表53) |

全天候呼吸阀 图45 |

阻火呼吸阀 图46 |
|
| |
表52
型号 |
尺 寸(mm) |
DN |
D1 |
D2 |
H |
L |
b |
n |
d |
QHXF-50 |
50 |
Φ110 |
Φ140 |
393 |
386 |
16 |
4 |
Φ14 |
QHXF-80 |
80 |
Φ150 |
Φ190 |
425 |
436 |
18 |
4 |
Φ18 |
QHXF-100 |
100 |
Φ170 |
Φ210 |
441 |
450 |
18 |
4 |
Φ18 |
QHXF-150 |
150 |
Φ225 |
Φ265 |
529 |
550 |
20 |
8 |
Φ18 |
QHXF-200 |
200 |
Φ280 |
Φ320 |
640 |
710 |
22 |
8 |
Φ18 |
QHXF-250 |
250 |
Φ335 |
Φ375 |
775 |
916 |
24 |
12 |
Φ18 |
|
表53
型号 |
尺 寸(mm) |
DN |
D1 |
D2 |
H |
L |
b |
n |
d |
QZF-50 |
50 |
Φ110 |
Φ140 |
350 |
300 |
16 |
4 |
Φ14 |
QZF-80 |
80 |
Φ150 |
Φ190 |
500 |
450 |
18 |
4 |
Φ18 |
QZF-100 |
100 |
Φ170 |
Φ210 |
500 |
450 |
18 |
4 |
Φ18 |
QZF-150 |
150 |
Φ225 |
Φ265 |
600 |
650 |
20 |
8 |
Φ18 |
QZF-200 |
200 |
Φ280 |
Φ320 |
700 |
850 |
22 |
8 |
Φ18 |
QZF-250 |
250 |
Φ335 |
Φ375 |
820 |
1000 |
24 |
12 |
Φ18 |
|
注:①用户需何种材料请在合同中注明。
②连接法兰标准为HG20593-97
PN 0.6MPa。 |
| |
3、QZF-1型防爆阻火呼吸阀
<1>结构示意图及外形尺寸 |
|
|
型号 |
DN |
D1 |
H |
Ф |
n-Ф |
QZF-1-50 |
50 |
110 |
255 |
160 |
4-14 |
QZF-1-80 |
80 |
150 |
260 |
215 |
4-18 |
QZF-1-100 |
100 |
170 |
290 |
265 |
4-18 |
QZF-1-150 |
150 |
225 |
330 |
305 |
8-18 |
QZF-1-200 |
200 |
280 |
350 |
355 |
8-18 |
QZF-1-250 |
250 |
335 |
400 |
420 |
12-18 |
|
|
<2>主要性能特点
连接法兰标准:HG20593-97、PN0.6、RF。
材料:外壳材料为铸造铝合金;内件材料厂为不锈钢和聚四氟乙烯。
如需其它材料请用户注明。
性能参数:A级:正压355Pa;负压295Pa。
B级:正压980Pa;负压295Pa。(该级优先选用)
C级:正压1765Pa;负压295Pa。
D级:正压98000Pa;负压295Pa。 |
| |